|
1、凭据
AQ2054-2016《金属非金属矿山在用主透风机系统安全检验规范》
2 职责
2.1 检测员严格按尺度划定对在用设备进行检测,忠诚纪录检测数据,确保原始纪录正确,而后凭据检测纪录出具检验汇报。
2.2 质量监督员对检测工作进行监督,保障了局正确。
2.3 检测室主任对汇报和检测纪录进行核查,确认后具名。
3 检测项目
矿用产品安全标志、零部件和紧固件、刹车装置、光滑系统、结构、电动机运行功率、接地电阻、绝缘电阻、叶片径向间隙值、安全;ぜ吧枋⒓嗖庥靡瞧饕潜怼⒄穸⒈赣玫缍⒃肷⒅岢形露取 效能。
4 仪器设备
透风机综合测试仪(TC-3B)、皮托管、红表线测温仪、转速表、兆欧表、声级计、钢卷尺、塞尺、振动丈量仪、电子秒表、温湿度表,接地电阻、红表线测距仪。
5 检测步骤
5.1 矿山在用抽出式主透风机机能测试,风杯法
5.1.1 查看透风机及配套件的有关证件是否齐全:安尺度用证、防爆合格证、摩擦火花安全合格证等。
5.1.2 现场查抄项目:透风机、电动机各零件是否齐全,主透风机各衔接部位紧固件是否牢固;刹车矫捷靠得住;光滑系统工作是否正常;主透风机表壳或内部结构是否有异变或危险;主透风机铭牌标志、风骚标志是否齐全。
图1
5.1.3,终场要被测透风机,
5.1.4,用吊车吊开防爆门。
5.1.5,矿方进入井下透风路做密关,
5.1.6,测试人员进入透风硐中,拔取适合铺设风杯的测试地位,测试地位应为矩形法规方便固定支架,而后量取测试点面积,将以下(图2)方式均匀安插风杯,将所有风杯衔接线衔接到测试?樯,在衔接到透风机综合测试仪传感器接口上。
图2
5.1.7,将皮托管通过幼洞深刻风硐内顶风放入风硐中心,并固定在风杯固定架上,皮托管的“+”端衔接到U型管丈量全压,皮托管的“-”端衔接别离到U型管和将负压传感器与软管相衔接,各衔接点要密关,不能漏气;负压传感器衔接电缆接到透风机综合分析仪。负压传感器接口上。
5.1.8,温湿度传感器要固定在风杯支架上或挂到风路内肆意地位但要将温湿度传感器固定好;尽量不要将温湿度传感器放在风路地面上,以防线面上的泥水灌进温湿度传感器内,败坏温湿度传感器,在衔接到透风机综合测试仪传感器接口上。
5.1.9,联系矿方电工将开关柜断电,放电,在将综合电能分析仪的电压衔接电缆黄、绿、红夹子别离接a、b、c三相中的任一相,三种色彩的钳形电流表和同色彩的电压接到统一相丈量。钳型电流互感器钳入方向要一致。
输入电压高于660V时,应通过电压互感器将电压变为互换50~660V接入。在电机三相电源的绝缘护套优良的情况下,钳型电流互感器才可直接接入,不然不能直接接入,以保障人身及设备的安全。
5.1.10,将大气压传感器在衔接到透风机综合测试仪传感器接口上和主机一路搁置在大气中即可。
5.1.11,打开调节风门。
5.1.12,启动被测透风机,并启动透风机综合测试仪起头测试,风机启动运行20min后,纪录本次丈量各基础数据,在井筒口处增长木板,扭转风机阻力,运行20min后,在顺次增长木板,沉复8次数据后,点击提交按钮,测试实现。
5.1.13 振动检测
5.1.13.1对叶轮直接装在电动机轴上的透风机,应在电动机定子两端轴承部位丈量其垂直、水平和轴向三个方向的振动值见图3当电动机带有电扇罩时,轴向振动可不予丈量。
5.1.13.2对于双支承有两个轴承体的透风机,对每个轴承按图4所示的三个方向丈量其振动值。

图4
5.1.13.3当两个轴承都装在统一个轴承箱内时,按图5所示的要求,在轴承箱体轴承部位丈量其振动值。

图5
注:图钟及X为测点方向和地位
5.1.13.4当被测的轴承箱在透风机壳体内部时,按5.1.8.2或5.1.13.5的要求,并预先装置振动传感器,而后引出风机以表玉批示器衔接丈量其振动值
5.1.13.6当被测的轴承箱在透风机壳体内部、又无法预设振动传感器时,可在支持轴承处的透风机表壳相应部位丈量垂直和水平两个方向的振动值,见图6.

图6
5.1.14 噪音检测
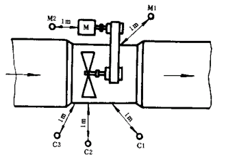
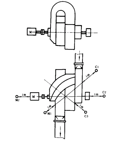
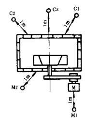
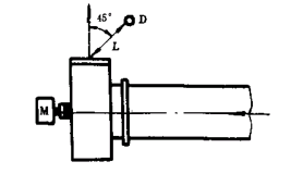
5.1.14.1 透风机作出气气动机能试验时,丈量出气口辐射的噪音,测点地位D(见图7-图10)是在与出气口轴线45°方向,与出气口的距离为尺度长度。测点地位应选在无气流涡区处和电动机噪音影响较少的处所。
图7 图8
图9 图10
透风机的出气口均收受路时,丈量机壳辐射的噪音,测点地位在透风机主轴水平面内、经过叶轮几何中心的直线上,距离壳体1m处。测点地位C1、C2……,M1、M2……,见图11-图21。
图11 图12 图13
 图14 图15 图16
图17 图18
 
图19 图20 图21
上述所有风机测点地位的高度,从地面算起在1m以下是,均在1m的高度丈量,测点与声源点的绝对距离按尺度长度。
透风机出气口的中心或机壳的中心高度从地面推算不及1m时,应提高1m。
5.1.15转速测定
5.1.15.1电动机转速丈量,把锡箔纸裁剪层长方条贴敷于电动机转子上,用转速表丈量转速,每调一个工况点测3次,取其算术均匀值。
5.1.15.2透风机转速丈量,同5.3.15.1条,透风机于电动机直接传动,只测电动机转速;透风机于电动机以其他方式传动,应别离测透风机、电动机的转速。若现场确不具备测试透风机、电动机转速前提时,以透风机和电动机额定转速为凭据。
5.2 矿山在用离心式主透风机机能测试,风杯法
图22
5.2.1,终场要被测透风机。
5.2.2,用吊车吊开防爆门。
5.2.3,矿方进入井下透风路做密关。
5.2.4,此时在测试井筒口铺满木板,搁置安插仪器设备和抽出式透风机测试一样。
5.2.5,开启被测风机,打开调节风门。
5.2.6,起头测试并启动透风机综合测试仪起头测试,风机启动运行20min后,纪录本次丈量各基础数据,而后在井筒口处顺次削减木板,扭转风机阻力,运行20min后,在顺次拿下一块木板,沉复8次数据后,点击提交按钮,测试实现。其余测试项同抽出式一样。
5.3 矿山在用抽出式主透风机机能测试,全压-静压差法
5.3.1查看透风机及配套件的有关证件是否齐全:安尺度用证、防爆合格证、摩擦火花安全合格证等。
5.3.2现场查抄项目:透风机、电动机各零件是否齐全,主透风机各衔接部位紧固件是否牢固;刹车矫捷靠得住;光滑系统工作是否正常;主透风机表壳或内部结构是否有异变或危险;主透风机铭牌标志、风骚标志是否齐全。
5.3.3终场要被测透风机。
5.3.4用吊车吊开防爆门。
5.3.5矿方进入井下透风路做密关,
5.3.6测试人员进入透风硐中,拔取适合铺皮托管的测试地位,测试地位应为矩形法规方便固定支架,而后量取测压断面面积(测试相对静压的地位)、扩散器出口的面积;将皮托管通过幼洞深刻风硐内顶风放入风硐中心点,并固定在固定架上,将皮托管的全压接头用软管接到差压传感器的“+”端,皮托管的静压接头用软管接到差压传感器的“-”端。测得的差压值即为动压。测试时,软管衔接的处所肯定要扎牢,不能漏气;不然,测试的数值将不正确。
大气压的测试、温度、湿度的测试、负压(相对静压)的测试、电机功率的测试步骤同上。
注:测试时,装置皮托管的动压测头要正对着风骚方向,角度误差不大于15度,不然,测试的数值将不精确。
测试时,要将测动压面积(皮托管装置的地位)、测压断面,面积(测试相对静压的地位)、扩散器出口的面积丈量正确,并正确的输入到软件中,不然,软件内换算的相应的数值将不正确。
5.3.7,打开调节风门。
5.3.8,启动被测透风机,并启动透风机综合测试仪起头测试,风机启动运行20min后,纪录本次丈量各基础数据,在井筒口处增长木板,扭转风机阻力,运行20min后,在顺次增长木板,沉复8次数据后,点击提交按钮,测试实现。其余检测项与风杯法一样。
5.4 煤矿在用离心式主透风机机能测试,全压-静压差法
5.4.1查看透风机及配套件的有关证件是否齐全:安尺度用证、防爆合格证、摩擦火花安全合格证等。
5.4.2现场查抄项目:透风机、电动机各零件是否齐全,主透风机各衔接部位紧固件是否牢固;刹车矫捷靠得住;光滑系统工作是否正常;主透风机表壳或内部结构是否有异变或危险;主透风机铭牌标志、风骚标志是否齐全。
5.4.3终场要被测透风机。
5.4.4测试人员进入透风硐中,拔取适合铺皮托管的测试地位,测试地位应为矩形法规方便固定支架,而后量取测压断面面积(测试相对静压的地位)、扩散器出口的面积;将皮托管通过幼洞深刻风硐内顶风放入风硐中心点,并固定在固定架上,将皮托管的全压接头用软管接到差压传感器的“+”端,皮托管的静压接头用软管接到差压传感器的“-”端。测得的差压值即为动压。测试时,软管衔接的处所肯定要扎牢,不能漏气;不然,测试的数值将不正确。
大气压的测试、温度、湿度的测试、负压(相对静压)的测试、电机功率的测试步骤同上。
注:测试时,装置皮托管的动压测头要正对着风骚方向,角度误差不大于15度,不然,测试的数值将不精确。
测试时,要将测动压面积(皮托管装置的地位)、测压断面,面积(测试相对静压的地位)、扩散器出口的面积丈量正确,并正确的输入到软件中,不然,软件内换算的相应的数值将不正确。
5.4.5,打开调节风门。
5.4.6,启动被测透风机,并启动透风机综合测试仪起头测试,风机启动运行20min后,纪录本次丈量各基础数据,在井筒口处顺次拿下一块木板,扭转风机阻力,运行20min后,在顺次增长木板,沉复8次数据后,点击提交按钮,测试实现。其余检测项与风杯法一样。
5.5 矿山在用抽出式主透风机安全机能测试,风杯法

图23
5.5.1 终场要被测透风机,
5.5.2矿方进入井下主透风路在(图23中3)地位做钢性支架铺设测试用挡风木板,
5.5.3测试人员进入透风硐中,拔取适合铺设风杯的测试地位,测试地位应为矩形法规方便固定支架,而后量取测试点面积,将以下图方式均匀安插风杯,将所有风杯衔接线衔接到测试?樯,在衔接到透风机综合测试仪传感器接口上。

图24
5.5.4 将皮托管通过幼洞深刻风硐内顶风放入风硐中心,并固定在风杯固定架上,皮托管的“+”端衔接到U型管丈量全压,皮托管的“-”端衔接别离到U型管和将负压传感器与软管相衔接,各衔接点要密关,不能漏气;负压传感器衔接电缆接到透风机综合分析仪。负压传感器接口上。
5.5.5温湿度传感器要固定在风杯支架上或挂到风路内肆意地位但要将温湿度传感器固定好;尽量不要将温湿度传感器放在风路地面上,以防线面上的泥水灌进温湿度传感器内,败坏温湿度传感器,在衔接到透风机综合测试仪传感器接口上。
5.5.6,联系矿方电工将开关柜断电,放电,在将综合电能分析仪的电压衔接电缆黄、绿、红夹子别离接a、b、c三相中的任一相,三种色彩的钳形电流表和同色彩的电压接到统一相丈量。钳型电流互感器钳入方向要一致。
输入电压高于660V时,应通过电压互感器将电压变为互换50~660V接入。在电机三相电源的绝缘护套优良的情况下,钳型电流互感器才可直接接入,不然不能直接接入,以保障人身及设备的安全。
5.5.7,将大气压传感器在衔接到透风机综合测试仪传感器接口上和主机一路搁置在大气中即可。
5.5.8打开调节风门?蠓阶饕等嗽弊龊冒踩阑そ耄ㄍ23中3)地位带好测试用挡风木板筹备测试。
5.5.9启动被测透风机,并启动透风机综合测试仪起头测试,启动运行20min后,纪录本次丈量各基础数据,在(图中3)地位处增长木板,扭转风机阻力,运行20min后,在顺次增长木板,沉复8次数据后,点击提交按钮,测试实现。
5.6 矿山在用离心式主透风机安全机能测试,风杯法

图24
5.6.1,终场要被测透风机,
5.6.2,矿方进入井下主透风路在(图24中3)地位做钢性支架铺设测试用挡风木板,
5.6.3,测试人员进入透风硐中,拔取适合铺设风杯的测试地位,测试地位应为矩形法规方便固定支架,而后量取测试点面积,将以下图方式均匀安插风杯,将所有风杯衔接线衔接到测试?樯,在衔接到透风机综合测试仪传感器接口上。
5.6.4,此时矿方作业人员做好安全防护进入在(图24中3)地位满木板,搁置安插仪器设备和抽出式透风机测试一样,
5.6.5,打开调节风门。
5.6.6,启动被测透风机,并启动透风机综合测试仪起头测试,启动运行20min后,纪录本次丈量各基础数据,在(图24中3)地位处顺次拿下一块木板,扭转风机阻力,运行20min后,在顺次拿下一块木板,沉复8次数据后,点击提交按钮,测试实现。
5.7 矿山在用抽出式主透风机安全机能测试,全压-静压差法
5.7.1查看透风机及配套件的有关证件是否齐全:安尺度用证、防爆合格证、摩擦火花安全合格证等。
5.7.2现场查抄项目:透风机、电动机各零件是否齐全,主透风机各衔接部位紧固件是否牢固;刹车矫捷靠得住;光滑系统工作是否正常;主透风机表壳或内部结构是否有异变或危险;主透风机铭牌标志、风骚标志是否齐全。
5.7.3终场要被测透风机。
5.7.4测试人员进入透风硐中,拔取适合铺皮托管的测试地位,测试地位应为矩形法规方便固定支架,而后量取测压断面面积(测试相对静压的地位)、扩散器出口的面积;将皮托管通过幼洞深刻风硐内顶风放入风硐中心点,并固定在固定架上,将皮托管的全压接头用软管接到差压传感器的“+”端,皮托管的静压接头用软管接到差压传感器的“-”端。测得的差压值即为动压。测试时,软管衔接的处所肯定要扎牢,不能漏气;不然,测试的数值将不正确。
大气压的测试、温度、湿度的测试、负压(相对静压)的测试、电机功率的测试步骤同上。
注:测试时,装置皮托管的动压测头要正对着风骚方向,角度误差不大于15度,不然,测试的数值将不精确。
测试时,要将测动压面积(皮托管装置的地位)、测压断面,面积(测试相对静压的地位)、扩散器出口的面积丈量正确,并正确的输入到软件中,不然,软件内换算的相应的数值将不正确。
5.7.5打开调节风门?蠓阶饕等嗽弊龊冒踩阑そ耄ㄍ23中3)地位带好测试用挡风木板筹备测试。
5.7.6启动被测透风机,并启动透风机综合测试仪起头测试,启动运行20min后,纪录本次丈量各基础数据,在(图中3)地位处增长木板,扭转风机阻力,运行20min后,在顺次增长木板,沉复8次数据后,点击提交按钮,测试实现。
5.8 矿山在用离心式主透风机安全机能测试,全压-静压差法
5.8.1查看透风机及配套件的有关证件是否齐全:安尺度用证、防爆合格证、摩擦火花安全合格证等。
5.8.2现场查抄项目:透风机、电动机各零件是否齐全,主透风机各衔接部位紧固件是否牢固;刹车矫捷靠得住;光滑系统工作是否正常;主透风机表壳或内部结构是否有异变或危险;主透风机铭牌标志、风骚标志是否齐全。
5.8.3终场要被测透风机。
5.8.4测试人员进入透风硐中,拔取适合铺皮托管的测试地位,测试地位应为矩形法规方便固定支架,而后量取测压断面面积(测试相对静压的地位)、扩散器出口的面积;将皮托管通过幼洞深刻风硐内顶风放入风硐中心点,并固定在固定架上,将皮托管的全压接头用软管接到差压传感器的“+”端,皮托管的静压接头用软管接到差压传感器的“-”端。测得的差压值即为动压。测试时,软管衔接的处所肯定要扎牢,不能漏气;不然,测试的数值将不正确。
大气压的测试、温度、湿度的测试、负压(相对静压)的测试、电机功率的测试步骤同上。
注:测试时,装置皮托管的动压测头要正对着风骚方向,角度误差不大于15度,不然,测试的数值将不精确。
测试时,要将测动压面积(皮托管装置的地位)、测压断面,面积(测试相对静压的地位)、扩散器出口的面积丈量正确,并正确的输入到软件中,不然,软件内换算的相应的数值将不正确。
5.8.5,此时矿方作业人员做好安全防护进入在(图24中3)地位满木板,搁置安插仪器设备和抽出式透风机测试一样,
5.8.6,打开调节风门。
5.8.7,启动被测透风机,并启动透风机综合测试仪起头测试,启动运行20min后,纪录本次丈量各基础数据,在(图24中3)地位处顺次拿下一块木板,扭转风机阻力,运行20min后,在顺次拿下一块木板,沉复8次数据后,点击提交按钮,测试实现。
5.9 AQ2054-2016金属非金属透风机机能测试和安全测试的检测步骤,对照条款见下表:
|
序号
|
检验项目
|
技术要求
|
项目类型
|
试验步骤
|
|
1
|
矿用产品安全标志
|
4.1
|
B
|
5.2
|
|
2
|
零部件和紧固件
|
4.2
|
C
|
5.3
|
|
3
|
刹车装置
|
4.3
|
C
|
5.4
|
|
5
|
光滑系统
|
4.4
|
C
|
5.5
|
|
6
|
结构
|
4.5
|
C
|
5.6
|
|
7
|
电动机运行功率
|
4.6
|
A
|
5.7
|
|
9
|
接地电阻
|
4.7
|
B
|
5.8
|
|
10
|
绝缘电阻
|
4.8
|
B
|
5.9
|
|
11
|
叶片径向间隙值
|
4.9
|
C
|
5.10
|
|
12
|
安全;ぜ吧枋
|
4.10
|
A
|
5.11
|
|
13
|
监测用仪器仪表
|
4.11
|
C
|
5.12
|
|
14
|
振动
|
4.12
|
A
|
5.13
|
|
15
|
备用电动机
|
4.13
|
B
|
5.14
|
|
16
|
噪声
|
4.14
|
C
|
5.15
|
|
17
|
轴承温度
|
4.15
|
B
|
5.16
|
|
18
|
效能
|
4.16
|
C
|
5.17
|
透风机检验项目分为A类项目(关键项)、B类项目(沉要项)和C类项目(通常项)3种类型,具体划分如下:
出现以下情况之一时,检验结论综合判定为不合格;
a A类项目,出现1项或1项以上不合格;
b B类项目,出现3项或3项以上不合格;
c C类项目,出现5项或5项以上不合格;
d B类项目和C类项主张不合格项数之和为5项或5项以上。
注:测试透风机风杯法合用于主进风坦荡巷路测风处矩形刚正规率且对仪器设备无中伤,无安全隐患的情况下使用,如不满足上诉要求则使用全压-静压差法。
6 编发汇报
6.1 编写汇报应持客观、公正、疑神疑鬼的准则。
6.2 汇报的内容
6.2.1 检验汇报的内容蕴含进行检测的地址、仪器状态、检测凭据、凭据检测数据而得出的检验结论。
6.2.2 按尺度检测合格的仪器,发给检验汇报;不合格的仪器发给检测了局,并注明不合格项目。
6.3 检验汇报按本公司《了局汇报治理法式》核准、归档、签章、发出;出格把稳汇报的核准必须由有关领域的授权具名人具名。
7 当苦衷项
7.1 检验汇报的假造人和进行检测的人员不能由统一人担任。
7.2 本公司不能在检验汇报中出现资质领域表的项目、参数。
8 纪录
8.1 《检测检验委托合同书》
8.2 《金属非金属矿山在用主透风机系统安全检测检验原始纪录》
8.3 《检验汇报发放登记表》
8.4 《检验汇报》
|